能源管理系統項目案例分享
發布時間:2023-07-18 瀏覽次數:
一、項目檔案
項目名稱:山西亮宇炭素有限公司有限公司能源管理項目案例
所屬行業:非金屬礦物制品業(石墨及碳素制品制造)
項目采購相關設備:能源管理系統1套、輔材1批等
二、項目簡介
1、項目介紹
山西亮宇碳素有限公司,位于山西省晉中市平遙縣岳壁鄉金莊村,是一家經營碳素材料、石墨電極、碳電極、碳精棒、石墨碳精棒;鋁用碳素制品、再生橡膠、碳素設備,經核準的經營項目的進出口業務的企業。
2、用戶需求
能耗層面:建設一套能源管理系統,對電、燃氣能源進行實時監測,遠程抄表,實現能源的精細化監測,并且實現能耗數據與成本預算系統的對接,幫助企業實現能源成本核算和費用對標。
設備層面:建設對磨粉機設備的運行狀態的監測,通過對磨粉機電機的電壓電流監測,判斷設備的運行健康狀態,做到電機電流的越限報警。
三、能源管理系統解決方案
1、系統配置
2、系統架構
T@Energy智慧能源管理系統架構包括能效管理層、網絡通訊層、現場設備層三層架構。本方案結合網絡通訊、數據庫產品和技術建立一套先進的、符合非金屬礦物制品業管理應用功能的能源管理系統。
3、系統功能
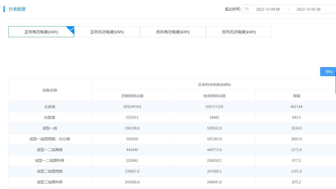
四、部分功能展示
實時數據:設備實時數據監測。

遠程抄表:按照客戶需求進行遠程抄表

設備運行組態:通過組態如圖形反饋設備運行狀態,告警提示

APP推送